Viessmann
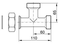
Anschlussgruppe Verflüssiger
Viessmann Ersatz Anschlussgruppe Verflüssiger
| Art.-Nr. | 7868576 |
2-3 Tage
735,00 € *
